統計圖表以及分析報告做好後,因為兒童節連假、期中考以及 ipad 開箱的緣故,原本要做的統計圖表報告一直沒有做,好不容易終於騰出時間,在週五上午特別找出二節課的時間,讓小朋友拿著ipad上台報告自己的調查成果以及分析。
2021年4月30日 星期五
我的統計圖表報告
2021年4月29日 星期四
Seesaw(2)語詞小短文
週三的回家作業是「語詞小短文」,為了實驗Seesaw的直接拍照繳交作業功能,所以發了一個任務,要求小朋友將寫好的紙本作業拍照上傳繳交作業。
2021年4月27日 星期二
Seesaw(1)周長與面積
假日的時候,花了好長的時間研究了一下幾個新的行動學習APP及網站,4/26(一)一大早到學校,就讓小朋友瘋狂的加班級:ClassDojo、Seesaw、CoolEnglosh。大多的網站用google登入就可以了,而Seesaw提供了驗證碼、QRCODE等方式,應該會更簡單,但可能是老蘇理解的不夠,或是後台設定的誤差,Seesaw的加入班級反而是弄得最久的。不過,最後還是稀哩呼嚕的完成了。
4/27(二)試著發出Seesaw的一個任務給學生。這是配合數學第六單元周長與面積所指配的任務。配合 PHET 這個網站科學與數學模擬教材中的 [ Area Builder_周長與面積] 練習,讓小朋友在遊戲中思索周長與面積的關係。
關卡1,比較簡單;關卡2,難難難。當知道長方形面積時,如何排出指定的周長?這時小朋友就需運用到 (先將周長除以2,成為1個長1個寛的概念),於是全班陷入一片安靜,努力解答中,最後才出現三三兩兩的課堂對話,討論如何破解
完成任務之後,還要運用螢幕截圖的方式上傳結果給老師,所以老蘇又插播了:如何叫出 (小白點),並 快按小白點二下做螢幕截圖的設定。
這個數學挑戰真的有點難度,所以4/27當天只有二個小孩完成,而到了老蘇寫這篇網誌的5/2,全班也才11個孩子完成,不過還是常可見小朋友打開作業在挑戰,真的很不錯。可能是任務真有難度,可能最近太忙了沒有時間,可能是最近蘇老師派的作業有點多,所以無法收到全部的作業,不過由小孩的表現,可以證明Seesaw在派任務方面還蠻好用的。
與數學的互動式模擬教材
google Jamboard(1)便利貼上的造句
討論與發表,是老蘇上課時最常做的事之一,所以小白板及白板筆,是每個小孩常備的學習工具。國語課,老蘇會針對特別的句型,讓小朋友分組討論,選主筆者,然後一起造句寫出五星級造句。
在孩子有了新平板後,在老婆大人介紹與激勵下,老蘇研究了google Jamboard這個隱藏在google雲端硬碟新增下的軟體,後來發覺它在學生討論與發表時很好用,所以就將它帶到國語課堂上,用來取代原先的小白板發表。
在打開google Jamboard後,老師可以在 [共用] 的地方按右鍵,可以產生 QR CODE,學生掃描即可加入(或用 ipad airdrop功能傳網頁應該也可以)
讓每個小組選了自己專屬的便利貼顏色,分組造句後直接貼上即可。
ClassDojo班級經營好幫手(1)
老蘇在班級經營上採取分組的方式進行,而在黑板上為各組加減分,最後在每週結束前為各組「結算」分數,然後登錄在日表現中,也成為每週必做的事。
不過,對老師來講,最重要的是平時孩子的加減分,所以在使用初期老師會經常需要進行 [ 設定 ] -> [教室資訊編輯] -> [skills] 中,學生 [ 正向鼓勵] 及 [需要改進]事項加減分的設定
2021年4月23日 星期五
MindNode心智圖(1)
老婆的班是二年級,她教班上的小朋友將心智圖畫在空白數學簿上,經過一篇篇的積累,她們班上的小朋友已經能畫出完整又美觀的心智圖。
老蘇平時上國語課其實是沒講心智圖的,大多只講文章架構圖。新的ipad到班上,效能更快了,想想應該可以用畫心智圖的APP來教小朋友練習畫心智圖,所以在apple store中找相關的APP,最後找到 MindNode 這款心智圖軟體,請哲安幫忙發布到小朋友的ipad上。
2021年4月21日 星期三
Quizlet英文單字對對碰
在每個學期期初,老蘇會請班上的英文小老師幫忙製作Quizlet的英文學習集,將整學期的英文單字依單元一一先建立好。
接著,視英文課教學進度,將每個學習集加入班級,小朋友就可以用Quizlet來練習英文單字的拼、讀、寫,十分方便。
2021年4月16日 星期五
用TV講解均一試卷
這次期中考前,老蘇運用均一的自組考卷的功能,每一單元都選擇小朋友最多人錯的題目出了一張複習卷。當孩子完成測驗後,我們可以按每張試卷(任務)上的 [ 分析報告 ] 來瞭解小朋友的答題狀況,並可以將錯最多的題目再拿出來講解一番。
由分析報告上,我們可以知道每一題試題答對率是多少,每個孩子的答題情形,老蘇會將答對率在70%以下的題目列出,並重新講解一番。
由於班上配發了新的觸控螢幕,老蘇用觸控方式點選題目,放大題目讓坐在後面的學生也能看清楚,再用大電視的 [ 批註 ] 功能進行講解,比原本來回到黑板講解方便許多,讓老蘇漸漸愛上這次新配的大電視,小朋友也覺得很方便,利於教與學。
2021年4月12日 星期一
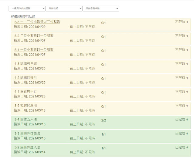
出1張均一數學複習卷
在數學行動學習上,本班以「均一教育平台」的練習為主,按照教學進度,指派任務,每個章元以一小節為單位派一個任務,至今已派了20個以上的任務,而每個任務則要求小朋友能達到「精熟」。











































